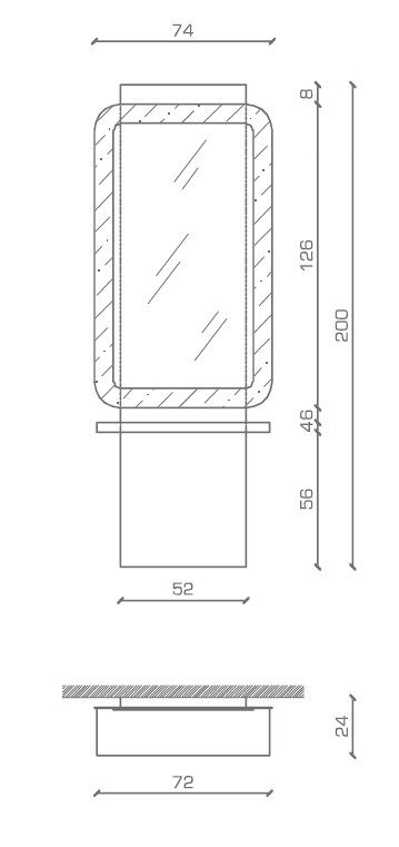
S21 Vision Tab
Struttura in bilaminato, specchio con cornice plexi; piano
di lavoro in bilaminato sp. 4 cm
Personalizzazioni
Laminato
Plexyglass





